

汽水分離器/STEAM-WATER SEPARATOR
優點:
汽水分離器利用體內幾何圖形和蒸汽與水流動的原理產生不同流向,將蒸汽和蒸汽中水滴分離,提高蒸汽干燥度,保證生產的運行。3.Adoptable for separation of separation of various kinds of gases and liquids.
汽水分離器/STEAM-WATER SEPARATOR

技術參數/Technique parameter
|
產品型號 Product model |
技術參數/Technique parameter |
|||
|
閥體材料 Valve body materials |
PMA (Mpa) |
最高允許溫度(℃) Maximum Allowable temperature |
適用介質 Used medium |
|
|
GS3 GS1、GS7 GS13 |
鑄鐵 Cast-iron 碳鋼 Carbon steel 碳鋼 Carbon steel |
1.6 1.6 2.5 |
220 420 420 |
蒸汽、氣體、凝結水 Steam、Gas、Condensate water 蒸汽、氣體、凝結水 Steam、Gas、Condensate water 蒸汽、氣體、凝結水 Steam、Gas、Condensate water |
|
零部件名稱 Part and component name |
材質 Material |
|
閥體、閥蓋 Valve body、Valve cover |
鑄鐵、碳鋼 Cast-iron、Carbon steel |
|
濾罩 Filtration cover |
不銹鋼 Stainless steel |
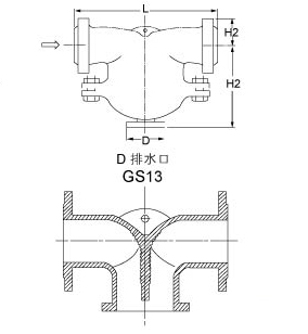
外形尺寸和重量/Prime out-form dimensions and weigh
產品型號
Product
model
口徑(DN)
Calibre
L法蘭
Flange
L螺紋/
焊接
Thread/
welding
H1
H2
D(排口)
Vent
使用壓力
范圍(MPa)
Pressure
change
range
公稱壓力
(MPa)
Nominal
pressure
G13
65-80
400
-
100
190
DN25
0.1-2.5
2.5
GS13
100-125
400
-
110
205
DN25
0.1-2.5
2.5
GS13
150
450
-
140
320
DN25
0.1-2.5
2.5
GS13
200
450
-
165
435
DN40
0.1-2.5
2.5
GS13
250
550
-
203
517
DN40
0.1-2.5
2.5
注解:
1、提供連接尺寸和法蘭標準。